阿牛巴流量計是采用皮托管測量原理測量擋體上游的動壓力與下游的靜壓力之間形成的壓差,從而達到測量流量的目的。測量管道直徑在DN20到DN12000之間。阿牛巴流量計主要用于工業過程中各種能源如液體、燃料氣、蒸氣和氣體的測量,具有較高的穩定性和重復性。設計理論符合伯努力方程原理,并可用JJG/640-90規程進行檢驗。
結構形式:
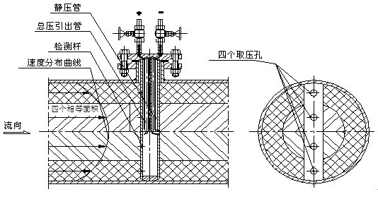
阿牛巴流量計由檢測桿、取壓口和導桿組成。阿牛巴的檢測管截面形狀分為圓形、菱形、橢圓形等多種結構。如圖所示。

阿牛巴流量計傳感器是由檢測桿、取壓口和導桿組成,它橫穿管道內部與管軸垂直,在測桿的迎流面上設有多個測壓孔測量總壓平均值,在其背、側流面有測量靜壓測壓孔,分別由總壓導壓管和靜壓導壓管引出,根據總壓與靜壓的差壓值,計算流經管道的流量。也可以用流量管壁靜壓代替傳感器背流面的靜壓。
均速管流量變送器是由傳感器、引壓附件和差壓變送器、壓力變送器、流量積算儀等配套組成的流量計。
特點:
1、阿牛巴流量計可用于液體、氣體和蒸汽流量等各種介質流量測量;
2、阿牛巴流量計結構,壓力損失小,安裝、拆卸方便,維護量??;
3、適合大管道,和不規則管道的流量測量;
4、壓力損失?。ㄅc孔板相比較,僅為孔板的5%以下),大大減少了動力消耗,節能效果顯著。
5、一體化式結構,成套性好;
6、管道口徑適應范圍大,當管徑越大時,采用插入式結構,其優越性也愈突出;
7、準確度及長期運行穩定性好,準確度可達1%,穩定度可達±O.1%;
8、多參數智能變送,全動態溫壓自動補償。不受壓力溫度變化影響
9、現場指示、遠傳兼容,方便系統組建及入網。
10、開放式數字平臺,多用途串行接門?,F場總線結構,HART通訊協議
測量原理:
阿牛巴流量計是一根沿直徑插入管道中的中空金屬桿,在迎向流體流動方向有成對的測壓孔,一般有兩對,其外形似笛。迎流面的多點測壓孔測量的是總壓,與全壓管相連通,引出平均全壓p1,背流面的中心處開有一只取壓孔,與靜壓管相通,引出靜壓p2。阿牛巴是利用測量流體的全壓與靜壓之差來測量流速。

一般管道中的流速分布是不均勻的。如果是充分發展的流體,其速度分布為指數規律。為了準確計量,將整個圓截面分面多個單元面積相等的多個半圓及多個半環。傳感器的檢測桿是由一根中空的金屬管組成,迎流面鉆多對總壓孔,它們分別處于各單元面積的中央,分別反應了各單元面積內的流速大小。由于各總壓孔是相通的,傳至檢測桿中的各點總壓值平均后,由總壓引出管引至高壓接頭,送到傳感器的正壓室。當傳感器正確安裝在有足夠長的直管段的工藝管道上時,流量截面上應沒有旋渦,整個截面的靜壓可認為是常數,在傳感器的背面或側面設有檢測孔,代表了整個截面的靜壓。經靜壓引出管由低壓接頭引至傳感器的負壓室。正、負壓室壓差的平方與流量截面的平均流速成正比,叢而獲得差壓與流量成正比的關系。在此關系的基處上,可由伯努利方程和連續性方程推導得到均速管流量計的流量計算公式
Qv=α﹒ε﹒(π/4)﹒D2﹒(2?P/ρ1)0.5
Qm=α﹒ε﹒(π/4)﹒D2﹒(2?P﹒ρ1)0.5
其中:Qv: 體積流量 Qm: 質量流量
α:傳感器結構系數
△P:差壓值ε:流體膨脹系數
ρ:流體工況下的密度 ε:流體膨脹系數
對于不可壓縮性流體ε=1,對于可壓縮性體ε﹤1,若式中D、△P、ρ1都使用SI單位,則QV的單位為M3∕S,Qm的單位為㎏∕S。
傳感器的流量系數α和可膨漲性系數ε,由標準裝置上標定得知,并在出廠時在合格證書上注明。
阿牛巴流量計選型:
型譜 | 說明 | |||||||
XT-ANB | 阿牛巴流量計 | |||||||
安裝形式 | M | 螺紋 | ||||||
F | 法蘭 | |||||||
本體材質 | 1- | 碳鋼 | ||||||
2- | 不銹鋼 | |||||||
3- | 耐高溫材質 | |||||||
測量管徑 | 50- | DN50 | ||||||
65- | DN65 | |||||||
80- | DN80 | |||||||
100- | DN100 | |||||||
125- | DN125 | |||||||
150- | DN150 | |||||||
200- | DN200 | |||||||
225- | DN225 | |||||||
250- | DN250 | |||||||
300- | DN300 | |||||||
350- | DN350 | |||||||
400- | DN400 | |||||||
450- | DN450 | |||||||
500- | DN500 | |||||||
600- | DN600 | |||||||
800- | DN800 | |||||||
900- | DN900 | |||||||
1000- | DN1000 | |||||||
工作壓力 | 1 | 0.6 MPa | ||||||
2 | 1.6 MPa | |||||||
3 | 2.5 MPa | |||||||
4 | 4.0 MPa | |||||||
5 | 6.4 MPa | |||||||
6 | 10.0 MPa | |||||||
工作溫度 | 1 | 120℃以下 | ||||||
2 | 220℃以下 | |||||||
3 | ||||||||
介質類型 | LC | 干凈液體 | ||||||
GC | 清潔氣體 | |||||||
LT | 易臟液體 | |||||||
GT | 易臟氣體 | |||||||
VM | 飽和蒸汽 | |||||||
VH | 過熱蒸汽 | |||||||
附件 | 00 | 不帶附件 | ||||||
01 | 僅帶差壓變送器 | |||||||
10 | 僅帶流量積算儀 | |||||||
11 | 帶差壓變送器和流量積算儀 | |||||||




